CTB半逆流湿式磁选机的工作原理,图示原理详情
CTB半逆流湿式磁选机的工作原理,图示原理详情,磁选机是我们充分再利用粉状粒体中的除去铁粉等,磁选机广泛用于资源回收,木材业.矿业.窑业.化学.食品等其他工场,适用于粒度3mm以下的磁铁矿.磁黄铁矿.焙烧矿.钛铁矿等物料的湿式磁选,也用于煤.非金属矿.建材等物料的除铁作业,是产业界使用最广泛的.通用性高的机种之一.
我们生产的CTB永磁筒式磁选机可分为:双滚筒磁选机.永磁滚筒磁选机.提纯式干式磁选机.干式磁选机.湿式磁选机.强磁磁选机等多种不同规格的磁选机.
1.CTB永磁筒式磁选机简介:
CTB永磁筒式磁选机选筒表面磁场强度远高于普通永磁磁选机,易于操作管理及维护,在各类选矿厂现场使用时具有明显的节能省电性能.半逆流槽永磁筒式磁选机适用于矿石粒度为0.5~0mm的粗选和精选,尤其适用于粒度为0.15~0mm矿物的精选;顺流槽永磁筒式磁选机适用于矿石粒度为6~0mm的粗选和精选;逆流槽永磁筒式磁选机适用于矿石粒度为0.6~0mm的粗选和扫选,以及选煤工业重介质回收.该永磁筒式磁选机采用专业计算机软件优化设计,结构合理,安装简单,使用方便,选别效率高!
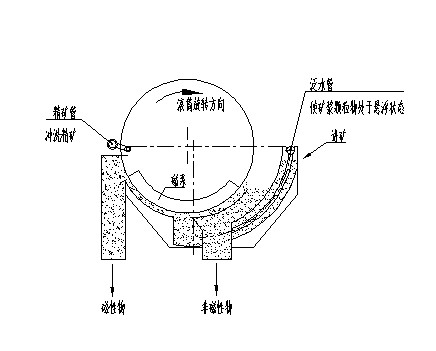
2.CTB永磁筒式磁选机的工作原理
矿浆由圆筒下部给入槽内,磁性矿粒被圆筒带到一定高度后落到精矿槽中,非磁性矿粒被运动的矿浆带着沿和圆筒转动方向相反的方向到尾矿槽中.

该槽体特点是扫选区比逆流槽短些,脱水区比顺流槽长些.所以它兼有可以获得回收率高和精矿品位高的优点,选别指标较好.如图1所示.该种槽体磁选机在选矿厂中应用最普遍,主要用于精选作业,选别粒度尤其适用小于0.15mm的矿物.
关注CTB半逆流湿式磁选机的工作原理,图示原理详情的人还阅读了湿式磁选机磁路设计是否合理这篇文章,请继续阅读详情.
我们生产的CTB永磁筒式磁选机可分为:双滚筒磁选机.永磁滚筒磁选机.提纯式干式磁选机.干式磁选机.湿式磁选机.强磁磁选机等多种不同规格的磁选机.

CTB永磁筒式磁选机选筒表面磁场强度远高于普通永磁磁选机,易于操作管理及维护,在各类选矿厂现场使用时具有明显的节能省电性能.半逆流槽永磁筒式磁选机适用于矿石粒度为0.5~0mm的粗选和精选,尤其适用于粒度为0.15~0mm矿物的精选;顺流槽永磁筒式磁选机适用于矿石粒度为6~0mm的粗选和精选;逆流槽永磁筒式磁选机适用于矿石粒度为0.6~0mm的粗选和扫选,以及选煤工业重介质回收.该永磁筒式磁选机采用专业计算机软件优化设计,结构合理,安装简单,使用方便,选别效率高!
2.CTB永磁筒式磁选机的工作原理
矿浆由圆筒下部给入槽内,磁性矿粒被圆筒带到一定高度后落到精矿槽中,非磁性矿粒被运动的矿浆带着沿和圆筒转动方向相反的方向到尾矿槽中.

该槽体特点是扫选区比逆流槽短些,脱水区比顺流槽长些.所以它兼有可以获得回收率高和精矿品位高的优点,选别指标较好.如图1所示.该种槽体磁选机在选矿厂中应用最普遍,主要用于精选作业,选别粒度尤其适用小于0.15mm的矿物.
关注CTB半逆流湿式磁选机的工作原理,图示原理详情的人还阅读了湿式磁选机磁路设计是否合理这篇文章,请继续阅读详情.
此文关键字:半逆流湿式磁选机
同类文章排行
- 黑钨矿湿式磁选机质量有口皆碑
- 湿式磁选机常见故障说明及解决方案
- 创新型湿式磁选机,远力强势来袭
- 永磁滚筒影响产出的参数有哪些
- 湿式磁选机的强磁系控制系统【南宫·NG28(China)官方网站】
- 永磁滚筒如何降低选矿损失率
- 永磁筒式磁选机日常工作中出现故障如何排除?
- 干选磁选机结构组成及应用领域简谈
- 磁选机购买后使用过程中应注意些什么问题?
- 磁选机的磁场强度降低怎么办?_南宫·NG28(China)官方网站
- 湿式磁选机参数
- 河砂选铁磁选机 高效节能筒式登录入口
- 湿式磁选机保养维护必须要找靠谱厂家
- 磁选机在陶瓷业如何选用
- 永磁筒式磁选机在设备使用上有哪些操作运行注意事项
- 湿式永磁筒式磁选机底部是什么样子的
- 磁选机的价格与质量是成正比的!不要让低价浪费了您的资源
- 河沙磁选机是挖沙船工作的重心
- CTB半逆流湿式磁选机的工作原理,图示原理详情
- 磁选机常见故障有哪些?我们该如何解决
最新资讯文章
- 逆流永磁筒式磁选机工作原理图
- 潍坊干式磁选机技术规范书
- 磁选机厂家给客户定制产品时要按需定制
- 湿式永磁筒式磁选机底部是什么样子的
- 永磁筒式磁选机在设备使用上有哪些操作运行注意事项
- 磁选机在选择上存在什么误区
- CT9026干式磁选机河沙铁矿等铁粉提经得起时间的检验
- 河砂选铁磁选机 高效节能筒式登录入口
- 磁系对于磁选机厂家选料时的影响
- 湿式分选磁选机的配件
- 高梯度湿式磁选机如何排除故障远力帮您
- 湿式磁选机百家争鸣,远力一枝独秀
- 创新型湿式磁选机,远力强势来袭
- 通过湿式磁选机工作原理来看磁选机选择的技巧
- 四川永磁湿式磁选机磁选效果
- 湿式磁选机常见故障说明及解决方案
- 沈阳湿式永磁筒式磁选机
- 湿式磁选机卸矿水角度多少
- 湿式分选磁选机更换筒皮时需要注意的事项
- 远力湿式磁选机的选矿方法



